摘要:(四川半导体设备公司)
关键词:
1、引言
2、实验
2.1 实验样品
2.2 实验设备
2.3 BGA优良焊点标准
3、真空汽相焊接工艺研究
3.1 升温速率调控分析(四川焊接技术)
3.2 阶段性真空抽压分析

4、结果与分析
4.1升温速率曲线结果

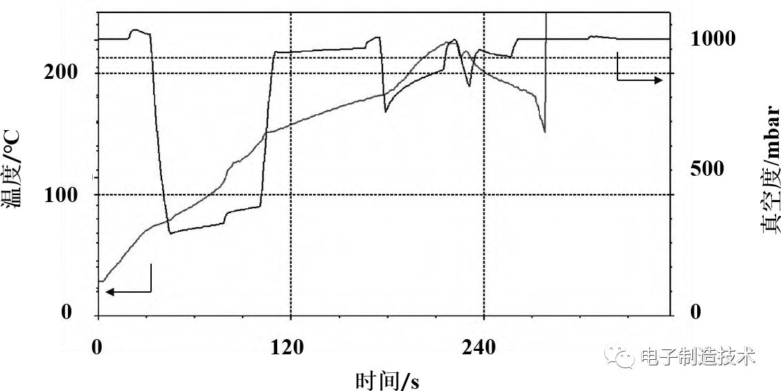
4.2工艺曲线结果



图3、不同真空汽相焊工艺和温度实测曲线图
4.3焊点剖面检测结果

图4、BGA焊点金相剖切图
4.4焊点X-Ray检测结果

图5、BGA焊点X射线检验图
4.5真空度优化检测结果(四川微组装半导体封装检测)

b.金相剖切图 c.X射线检验图图6、保温区真空度50mbar焊接效果图

图7、BGA焊点微观组织分布图
5、结束语
更多的四川半导体微组装设备资讯请联系:18980821008(张生)19382102018(冯小姐)
